„Мерцедес“ разви решение за намалување на бројот на жици во автомобилите со помош на механички прекинувач
Мерцедес-Бенц регистрираше патент во Германија за оригиналниот дизајн на поврзување на сијалиците во вратата или капакот на багажникот со електричната мрежа на возилото.
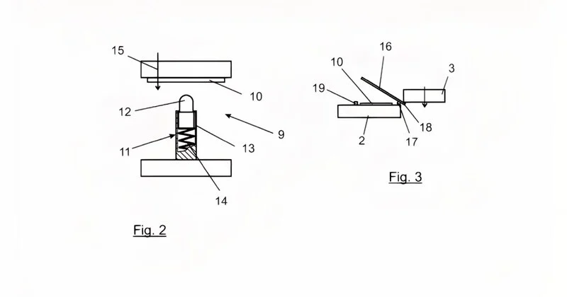
Според патентната пријава објавена од Германската канцеларија за патенти и трговски марки (DPMA), Мерцедес-Бенц би можел да ги елиминира флексибилните кабелски снопови во хаубата или задната врата, заменувајќи ги со механички пружински прекинувач со електрични контакти.
Новиот дизајн е наменет за пренесување на сигнали за напојување и контрола помеѓу надворешните и внатрешните делови на задните светла, кои се поделени помеѓу каросеријата и подвижниот панел. Кога капакот е затворен, контактите се поврзуваат автоматски, обезбедувајќи електрична врска без употреба на посебна гранка на жици.
Дизајнерите на Мерцедес сугерираат дека механизмот на пружината може да компензира за движењето и деформацијата на каросеријата и да одржува сигурен контакт дури и при извртување или поместување на елементите. Ова овозможува употреба на скратени жици и го поедноставува распоредот на задниот дел од возилото.
Намалувањето на бројот на жици потенцијално ја намалува тежината, сложеноста и цената на дизајнот. Во исто време, главните електрични врски остануваат поблиску до главниот кабелски сноп што минува низ каросеријата.
Во моментов, ова е само патент, а компанијата сè уште не објавила планови за имплементација на такво дизајнерско решение во сериските модели.

